Neue Räucheranlage

Kalträuchern, Warmräuchern, Heißräuchern und Co.
hobbywurster

Re: Neue Räucheranlage

Beitrag von hobbywurster »

:tach: :tach:


Da gibt es keine zeichnung, dass ist doch ein "schwarzbau" :rofl:

Das teil ist auch fahrbar, kann somit auch als fluchtfahrzeug

genutzt werden! :rofl: :undwech:


Jetzt aber ernsthaft!

Ich hatte noch hölzer 6x4, aus denen habe ich mir zwei rahmen gemacht,

usw, usw...........

Holzräucherschrank.JPG
Holzräucherschrank.JPG (69.66 KiB) 5110 mal betrachtet


Schrauben muss ich ja wohl keine einmalen, da wo es lose ist,

muss es fest werden, dann passt das schon. :gut:
hobbywurster

Re: Neue Räucheranlage

Beitrag von hobbywurster »

Ottis Eicher hat geschrieben:Hallo Hobbywurster,

danke für die Erklärung, nur bei dem Sparbrand müsste ich noch einmal
wissen wie das geht.

Wenn ich jetzt eine Rehkeule räuchern wollte was müsste ich beachten.
Hat das schon mal jemand getan? Bestimmt, oder?

Gruß

Ottis Eicher


Rehkeule habe ich noch keine geräuchert.

Die würde ich im Bratrohr machen.

Ist die mit, oder ohne knochen? Wie schwer?

Das Fleisch ist doch sehr mager und zart.

Aber wie immer gibt es ein erstes mal.

Versuch macht kluch!

Man könnte sie im vakuum pökeln, dann abwaschen und

trocknen. Danach 3 tage einbrennen und dann kalträuchern.

Muss bestimmt schnell gegessen werden, sonst zu trocken!

So in etwa könnte es gehen.

Knochen sollten raus, wegen dem aufschneiden.

Pro/kg 40g NPS+ zusätzliche gewürze, wacholderbeeren,

3g pfeffer

4 blatt lorbeer

3g dunklen rohrzucker

1 esslöffel kräuter der provence

Pro/kg ca. 6 tage vakuumpökeln bei 3°C im kühlschrank

3-4 tage einbrennen lassen, damit sich der salzgehalt ausgleichen kann

trocken in den kaltrauch für ca. 12 stunden

1 tag erholung und dann anfangen zu verspeisen.

Könnte so funzionockeln! :undwech:

Kann leider keine garantie dafür übernehmen.
hobbywurster

Re: Neue Räucheranlage

Beitrag von hobbywurster »

:tach: :tach:



Hallo Hobbywurster,

danke für die Erklärung, nur bei dem Sparbrand müsste ich noch einmal
wissen wie das geht.




Hallo Ottis.

Wo klemmt es da genau? ;)
Benutzeravatar
Steini
Administrator
Administrator
Beiträge: 14328
Registriert: Di 2. Nov 2010, 15:46
Wohnort: Herten, i. Westf.
Kontaktdaten:

Re: Neue Räucheranlage

Beitrag von Steini »

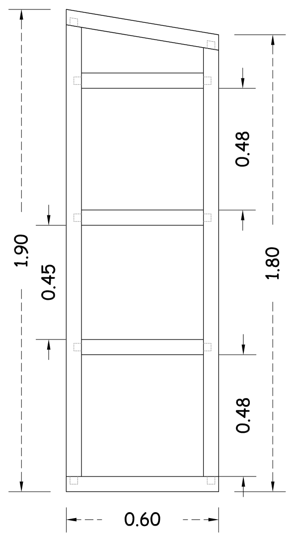
Ich habe mal eine Zeichnung von den Rahmenteilen angefertigt.
Gerhard, schau doch mal bitte darüber und kontrolliere Die Maße.
Passt das so in etwa?
räucherschrank01.jpg
(57.16 KiB) 695-mal heruntergeladen
LG, Steini
Wer nichts weiß, muss alles glauben.
(Marie Freifrau Ebner von Eschenbach 1830-1916)
hobbywurster

Re: Neue Räucheranlage

Beitrag von hobbywurster »

Hallo Steini!

Rahmen sind ok. Die kann man individuell gestalten!

:tach: :tach:



Mein räucherschrank ist insgesamt 2,30m hoch! Überalles!

Ich hätte lieber in der größe, 1m breit und 0,80m tief gebaut,

dass ging aber nicht, weil ich dann nicht mehr durch die tür

vom carport zur terrasse gekommen wäre!


Wer den Platz hat und was endständiges brauchen kann, der sollte

sich einen aus ziegelsteinen mauern. Gibt nix besseres.

Allein das temperaturverhalten ist viel einfacher zu handhaben.

Und ich kann ihn auch als "Wurstekammer" nutzen.

Wenn so ein räucherschrank, egal ob gemauert oder aus holz gebaut,

2,50 hoch ist, umso besser kann man räuchern.

Man ist von den außentemperaturen nicht mehr so abhängig.

Und es passt auch ordentlich was rein! ;) :undwech:
Benutzeravatar
Ottis Eicher
Feuertycoon
Feuertycoon
Beiträge: 1434
Registriert: Mo 18. Jul 2011, 12:28
Kontaktdaten:

Re: Neue Räucheranlage

Beitrag von Ottis Eicher »

HAllo Hobbywurster,

was ist das ein Sparbrand, musst du mit den Spänen sparen und nimmst nicht
viel, oder weil es nur 20 Grad werden sollen.

Ich kann mir das nicht recht vorstellen.

Gruß
Ottis Eicher
Gruß aus dem Sauerland

Ottis Eicher
Holli

Re: Neue Räucheranlage

Beitrag von Holli »

Hallo Ottis,

ich bin zwar nicht Hobbywurster, aber ich bin mal so vorlaut und antworte.
Rentierwurst 039.jpg
Rentierwurst 039.jpg (352.51 KiB) 5092 mal betrachtet
Rentierwurst 047.jpg
Rentierwurst 047.jpg (253.43 KiB) 5092 mal betrachtet
So sieht mein Sparbrand aus. Wenn ich ihn richtig fest fülle, gehen so ca. 80g Räuchermehl rein. Damit räuchert er etwa 10 Stunden.

Man muss sich das wie eine im Aschenbecher liegende Zigarre vorstellen. Der Rauch steigt ständig auf und füllt den Räucherschrank.

Durch die kleine Glut erwärmt sich die Temperatur im Räucherschrank nicht so sehr, als wenn man das Räuchermehl lose anzünden würde.

Die Vorteile eines Sparbrandes sind : geringer Verbrauch von Räuchermehl und niedrige Temperatur im Räucherschrank. Man schlägt also zwei Fliegen mit einer Klappe.

LG Martin
Benutzeravatar
Ottis Eicher
Feuertycoon
Feuertycoon
Beiträge: 1434
Registriert: Mo 18. Jul 2011, 12:28
Kontaktdaten:

Re: Neue Räucheranlage

Beitrag von Ottis Eicher »

Hallo Holli,

danke für die Erklärung. Dieses "Gitter" wurde mit Räuchermehl gefüllt und
das Mehl wurde "gepresst". Endzündet wird es nur an einer Stelle so das
es ganz langsam "abglimmt".

Gibt es da eine Regel für die Menge des Räuchermehls, zb ein Verhältnis
zum Rauchraumvolumen?

Dies Gitter habt ich selbst gemacht.

Die "Kugeln" sind Wacholderbeeren, oder?

Falls das so ist wie ich beschrieben habe, dann habe ich den Sparbrand
verstanden.

Gruß
Ottis Eicher
Gruß aus dem Sauerland

Ottis Eicher
hobbywurster

Re: Neue Räucheranlage

Beitrag von hobbywurster »

Ottis Eicher hat geschrieben:Hallo Holli,

danke für die Erklärung. Dieses "Gitter" wurde mit Räuchermehl gefüllt und
das Mehl wurde "gepresst". Endzündet wird es nur an einer Stelle so das
es ganz langsam "abglimmt".

Gibt es da eine Regel für die Menge des Räuchermehls, zb ein Verhältnis
zum Rauchraumvolumen?

Dies Gitter habt ich selbst gemacht.

Die "Kugeln" sind Wacholderbeeren, oder?

Falls das so ist wie ich beschrieben habe, dann habe ich den Sparbrand
verstanden.

Gruß
Ottis Eicher

Hallo Ottis!


Der sparbrand brennt/glimmt ohne offene flamme !

Die rauchintensität steuert man über die abluftklappe.

Angedrosselt = viel rauch, weil der rauch sich im schrank "sammelt".

Voll geöffnete abluftklappe, dann zieht der rauch sehr schnell ab.

Das ist meiner meinung nach bei jedem räucherschrank/ofen anders.

Du hast das mit der einstellerei aber ruckzuck begriffen, wenn du ein

paarmal geräuchert hast.

Ich nehme nur buchenräuchermehl, dass ist ganz fein und bringt nicht

soviel hitze.

Deshalb ist es immer zu empfehlen, dass der räucherschrank eine

höhe von 2m + X hat. Je höher, umso besser.

Die temperatur verringert sich beim kalträuchern mit der höhe des

räucherschrankes.

Da besteht dann auch nicht die gefahr, dass dein räuchergut im unteren

Bereich schon über die 25°C hat, du aber im oberen bereich auf dem

thermometer 20°C hast und denkst, dass alles ok ist!

Beim kalträuchern gehe ich eigentlich nie über die 20°C, reicht völlig aus!




Sparbrand3.JPG
Sparbrand3.JPG (231.93 KiB) 5089 mal betrachtet

Ich hab den sparbrand noch etwas<br /><br />&quot;aufgebockt&quot;, damit die frischluft gut<br /><br />von unten dranne kommt!
Ich hab den sparbrand noch etwas

"aufgebockt", damit die frischluft gut

von unten dranne kommt!
Sparbrand4.JPG (253.3 KiB) 5089 mal betrachtet


:undwech:
Benutzeravatar
Ottis Eicher
Feuertycoon
Feuertycoon
Beiträge: 1434
Registriert: Mo 18. Jul 2011, 12:28
Kontaktdaten:

Re: Neue Räucheranlage

Beitrag von Ottis Eicher »

Hallo,

danke für die Erklärungen!!

Gruß
Ottis Eicher
Gruß aus dem Sauerland

Ottis Eicher
Antworten

Zurück zu „Räuchern“

Wer ist online?

Mitglieder in diesem Forum: 0 Mitglieder und 0 Gäste